Le micromètre
Définition : Précision de mesure
Le micromètre est un instrument beaucoup plus précis que le pied à coulisse. Sa précision est de l'ordre du 1/100 de mm.
Grâce à sa conception, il est moins sujet à la déformation. Les erreurs dû à la différence de pression sur la pièce à mesurer sont éliminées par le système de vis avec limiteur de couple.
Le micromètre ou Palmer
Le micromètre de profondeur
Le micromètre d'intérieur à 3 touches
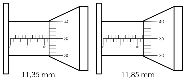
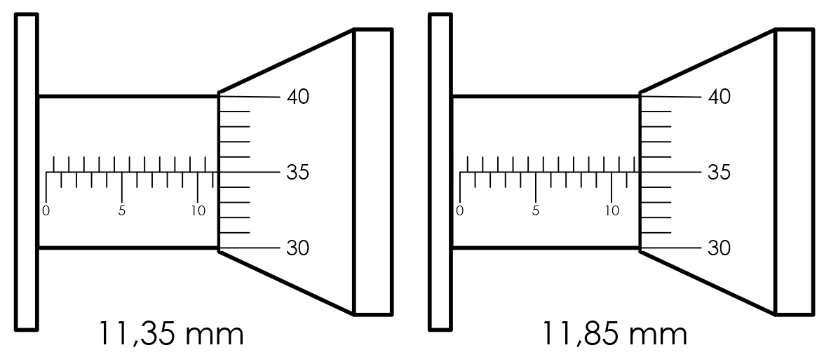
Méthode de lecture
Méthode :
Le tambour est gradué en 50 parties égales.
Chaque partie représente 1/100 de mm.
Il faut donc tourner le tambour de 2 tours pour que la touche mobile se déplace de 1 mm.
De 1 à 49 centièmes, la lecture est directe.
De 51 à 99 centièmes, il faut ajouter 0,5 mm visible sur la douille graduée pour obtenir la valeur exacte.
La lecture au micromètre demande une certaine attention afin de ne pas commettre d'erreur.






