Lire sur un micromètre
Vous effectuez différentes mesures à l'atelier sur des pièces mécaniques.
Notez les différentes valeurs relevées.
Question
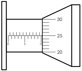
Lecture 1 :

Question
Lecture 2 :

Question
Lecture 3 :

Question
Lecture 4 :

Vous effectuez différentes mesures à l'atelier sur des pièces mécaniques.
Notez les différentes valeurs relevées.
Lecture 1 :

Lecture 2 :

Lecture 3 :

Lecture 4 :
